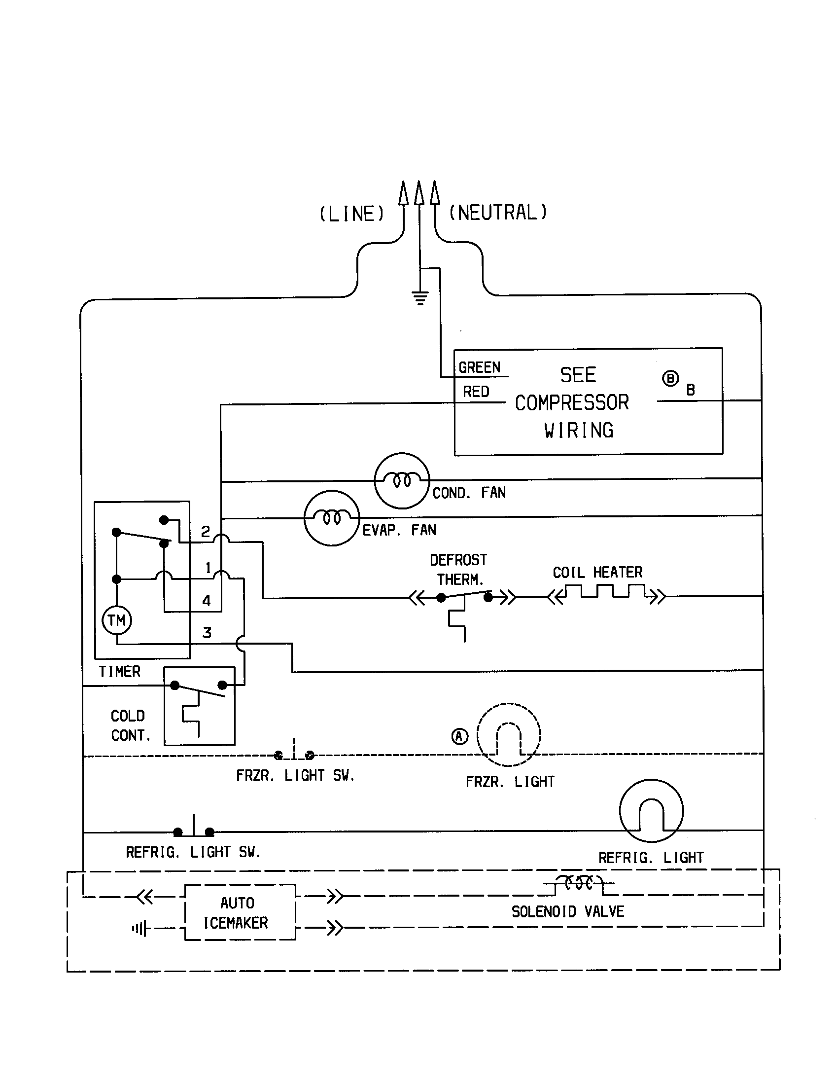
Kenmore Model 253 Refrigerator Wiring Diagram Kenmore Refrigerator Parts
Kenmore parts frigidaire refrigerator diagram wiring mount replacement repair searspartsdirect. Kenmore elite refrigerator wiring diagram. Kenmore model 25369832991 top-mount refrigerator genuine parts
Kenmore Model 253 Refrigerator Wiring Diagram
Download PDF
35 kenmore refrigerator wiring diagram


35 kenmore refrigerator wiring diagram. Kenmore refrigerator parts. My kenmore fridge model 501-64822 had a frozen defrost drain tube. i. Kenmore parts frigidaire refrigerator diagram wiring mount replacement repair searspartsdirect
KENMORE | Model #25370313213 | REFRIGERATOR | SearsPartsDirect.com
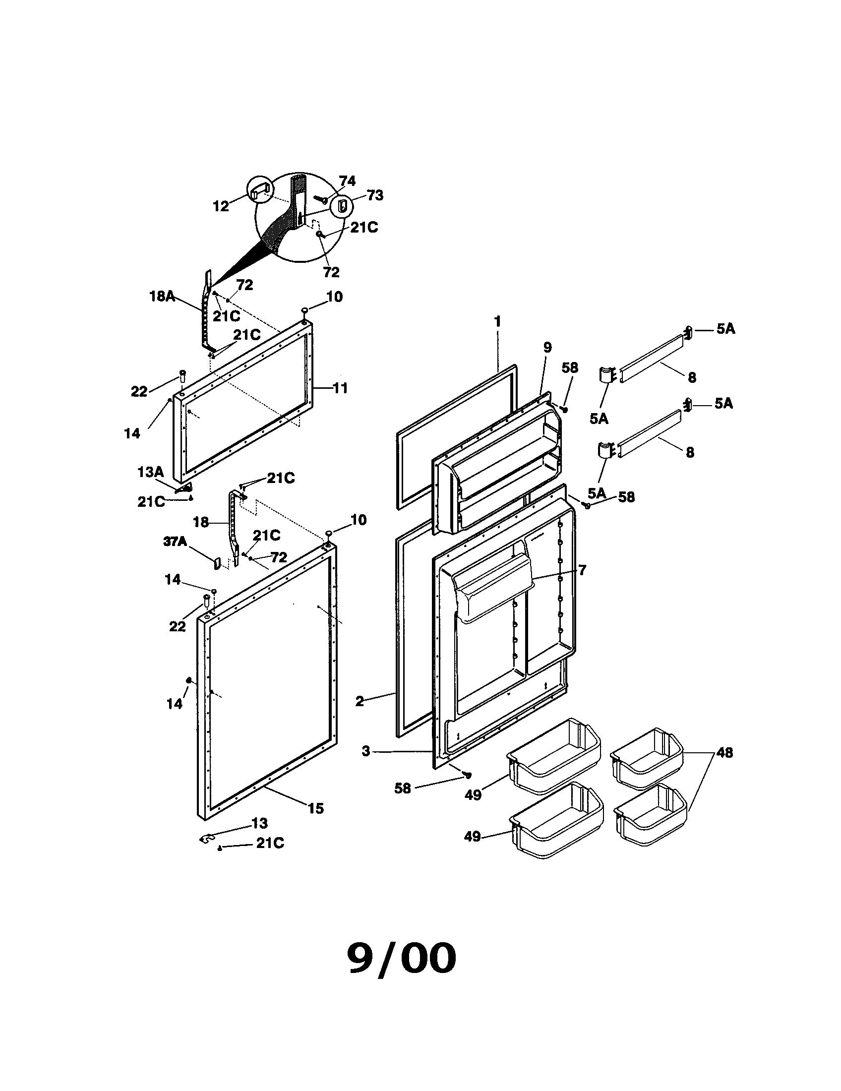
Kenmore model 25348022893 side-by-side refrigerator genuine parts
35 Kenmore Refrigerator Wiring Diagram - Wiring Diagram List
Kenmore Elite Refrigerator Wiring Diagram - Wiring Diagram Schemas
30 Kenmore Elite Refrigerator Diagram - Free Wiring Diagram Source

Komentar
Posting Komentar